DG-8R8.EN/M Детектор діоксиду вуглецю (СО2)
Опис та призначення
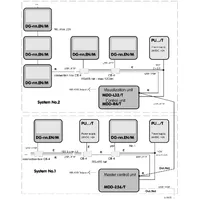
Газовий детектор Gazex DG-8R8.EN/M — це спеціалізований пристрій для моніторингу концентрації діоксиду вуглецю (CO₂) в атмосфері. Оснащений високоточним датчиком MS-8R8.EG, цей детектор забезпечує ефективне виявлення та вимірювання рівня CO₂, що робить його незамінним інструментом для контролю за безпекою в приміщеннях та на виробничих об’єктах, де підвищена концентрація цього газу може бути небезпечною для здоров’я людей.
Особливості:
-
Моніторинг діоксиду вуглецю (CO₂): Газ CO₂ — це безбарвний, без запаху та без смаку газ, який може спричиняти серйозні проблеми зі здоров’ям при високих концентраціях. Оскільки CO₂ є природним компонентом повітря, його концентрація в приміщеннях може змінюватися в залежності від рівня вентиляції та інших факторів. Детектор Gazex DG-8R8.EN/M виявляє навіть незначні зміни в рівні CO₂, що дозволяє вчасно виявити можливу загрозу задихання або погіршення якості повітря.
-
Точність та надійність: Датчик MS-8R8.EG забезпечує високу точність і стабільність вимірювань, що важливо для довгострокового моніторингу концентрацій газу в різних умовах. Це особливо важливо для приміщень з підвищеним рівнем CO₂, таких як лабораторії, виробничі приміщення або зони скупчення людей (наприклад, конференц-зали або спортивні зали).
-
Індикатори та сигналізація: Детектор оснащений чіткими індикаторами, які відображають поточний рівень CO₂ в повітрі. При перевищенні встановлених норм, пристрій автоматично виводить сигнал тривоги, що дозволяє вчасно вжити необхідні заходи безпеки.
-
Легкість у використанні та налаштуванні: Прилад розроблений таким чином, щоб користувач міг легко налаштувати його для моніторингу конкретних умов. Інтерфейс пристрою простий і зрозумілий, що дозволяє без зусиль відслідковувати параметри концентрації CO₂.
- Вихід у стандарті RS-485
- ✓
- Візуальна сигналізація, вбудована
- ✓
- Напруга живлення
- 24 В постійного струму
- Розміри
- 82 x 95 x 68 мм
- Код EAN
- 5901769652811


