DG-73.EN/M Детектор водню (H2)
Опис та призначення
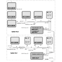
Gazex DG-73.EN/M — це професійний стаціонарний газовий детектор, призначений для виявлення витоків водню (H₂) в промислових, енергетичних, наукових та технічних середовищах. Завдяки встановленому спеціалізованому датчику MS-73.EG, пристрій демонструє високу селективність, чутливість і швидкість реакції саме на водень — один з найвибухонебезпечніших газів.
Моніторинг водню — ключовий елемент безпеки в технологічних процесах
Водень — легкий, безбарвний газ, що не має запаху і легко просочується навіть через мікропори. У поєднанні з повітрям утворює надзвичайно вибухонебезпечні суміші, тому його контроль критично важливий для запобігання аварій, пожеж чи вибухів.
Сенсор MS-73.EG забезпечує селективне виявлення водню, ігноруючи інші гази чи пари, що значно підвищує точність вимірювань та надійність сигналізації. Завдяки цьому пристрій ідеально підходить для об'єктів, де водень використовується як енергоносій, у лабораторіях, акумуляторних кімнатах, електролізерах тощо.
Основні переваги Gazex DG-73.EN/M:
-
Селективний моніторинг водню (H₂) — швидке виявлення навіть при низьких концентраціях
-
Високочутливий сенсор MS-73.EG — стабільна робота у складних атмосферних умовах
-
Світлова та звукова сигналізація — миттєве попередження про потенційну небезпеку
-
Інтеграція з системами безпеки та автоматичного керування (BMS, вентиляція, аварійне вимкнення)
-
Надійна конструкція — розрахована на промислові навантаження та довготривалу експлуатацію
Рекомендоване застосування:
-
Електролізні установки та виробництво водню
-
Станції зарядки водневих паливних елементів
-
Водневі енергосистеми та акумуляторні зали
-
Лабораторії, наукові центри
-
Металургія, хімічна промисловість, нафтопереробка
- Вихід у стандарті RS-485
- ✓
- Візуальна сигналізація, вбудована
- ✓
- Напруга живлення
- 24 В постійного струму
- Розміри
- 82 x 95 x 68 мм
- Код EAN
- 5901769659162


