DG-61.EN/M Детектор фреонів
Опис та призначення
Gazex DG-61.EN/M — це високоточний стаціонарний газовий детектор, призначений для виявлення витоків фреонів (галоїдованих вуглеводнів), які застосовуються як холодоагенти у системах кондиціонування, холодильного обладнання та теплових насосах. Завдяки вбудованому датчику MS-61.EG, пристрій забезпечує стабільне, чутливе та вибіркове виявлення фреонів різних типів.
Моніторинг фреонів — запобігання витокам і шкоді для довкілля
Фреони (R134a, R404A, R407C, R410A, R32 та інші) — це речовини з низькою токсичністю, але високо потенційним впливом на глобальне потепління та руйнування озонового шару. Витік фреону з холодильних чи кліматичних систем не лише порушує їхню роботу, а й загрожує довкіллю та безпеці персоналу.
Сенсор MS-61.EG має високу чутливість до хлорованих та флуорованих вуглеводнів, що входять до складу фреонів, і дозволяє на ранньому етапі виявити навіть незначні витоки, мінімізуючи шкоду та витрати на ремонт чи дозаправку системи.
Переваги Gazex DG-61.EN/M:
-
Точне виявлення витоків фреонів — попередження збоїв у роботі холодильного чи кондиціонерного обладнання
-
Селективний датчик MS-61.EG — чутливий до найпоширеніших типів холодоагентів
-
Звукова та світлова сигналізація — миттєве оповіщення при перевищенні допустимих рівнів
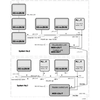
Можливість інтеграції з системами керування та безпеки (BMS, автоматика відключення тощо)
-
Надійний корпус для експлуатації в складних умовах (машинні зали, компресорні приміщення)
Рекомендоване застосування:
-
Холодильні камери та склади
-
Системи кондиціонування повітря (VRF, HVAC)
-
Компресорні установки та теплові насоси
-
Промислові охолоджувальні системи
-
Об’єкти з високими вимогами до екологічної безпеки
холодоагент R410A
- Вихід у стандарті RS-485
- ✓
- Візуальна сигналізація, вбудована
- ✓
- Напруга живлення
- 24 В постійного струму
- Розміри
- 82 x 95 x 68 мм
- Код EAN
- 5901769652767


