DG-28.EN/M Детектор двогазовий окису вуглецю та двоокису вуглецю
Опис та призначення
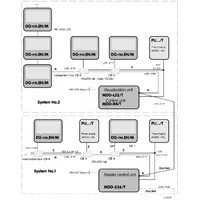
Газовий детектор Gazex DG-28.EN/M з інфрачервоним датчиком MS-28.EG — це передове рішення для моніторингу двох небезпечних газів: окису вуглецю (CO) та двоокису вуглецю (CO₂). Оснащений високоточним інфрачервоним датчиком, цей детектор дозволяє ефективно виявляти зміни концентрації цих газів у повітрі, що є критично важливим для забезпечення безпеки в промислових, виробничих і житлових зонах.
Особливості:
-
Двогазова система: Газовий детектор Gazex DG-28.EN/M оснащений інфрачервоним датчиком MS-28.EG, який одночасно моніторить два гази: окис вуглецю (CO) і двоокис вуглецю (CO₂). Це дозволяє забезпечити більш широкий спектр безпеки, вчасно виявляючи потенційну загрозу як через токсичний CO, так і через підвищену концентрацію CO₂, що може спричинити задушення.
-
Моніторинг окису вуглецю (CO): Окис вуглецю — безбарвний, без запаху і без смаку газ, що може бути смертельно небезпечним навіть при низьких концентраціях. Інфрачервоний датчик MS-28.EG точно виявляє присутність цього газу, що дозволяє оперативно реагувати на зміну його рівня і запобігати небезпечним ситуаціям.
-
Моніторинг двоокису вуглецю (CO₂): Двоокис вуглецю, хоча й менш токсичний, може спричиняти серйозні проблеми, такі як головний біль, запаморочення та задуху при підвищених концентраціях. Завдяки інфрачервоній технології, детектор ефективно відстежує рівень CO₂ в повітрі, забезпечуючи контроль за якістю повітря.
-
Інфрачервона технологія: Інфрачервоний датчик є одним з найбільш точних методів вимірювання концентрації газів, оскільки цей тип сенсора має високу стабільність, точність і тривалий термін служби. Інфрачервоний принцип вимірювання дозволяє детектору працювати навіть у складних умовах, де інші методи можуть бути менш ефективними.
-
Сигналізація та індикація: При перевищенні встановлених порогових значень концентрацій газів, детектор Gazex DG-28.EN/M видає тривожний сигнал, що дозволяє негайно вжити необхідних заходів для забезпечення безпеки. Чіткі індикатори дозволяють швидко оцінити поточний стан повітря.
Призначення: Детектор Gazex DG-28.EN/M ідеально підходить для використання в промислових умовах, на виробничих підприємствах, в підземних приміщеннях, складах, паркінгах, а також у будь-яких інших зонах, де можливе накопичення окису вуглецю та двоокису вуглецю. Цей детектор є важливим інструментом для забезпечення безпеки працівників та мешканців таких об'єктів.
чадний газ (CO)
- Вихід у стандарті RS-485
- ✓
- Візуальна сигналізація, вбудована
- ✓
- Напруга живлення
- 24 В постійного струму
- Розміри
- 82 x 95 x 68 мм
- Код EAN
- 5901769652781


