DG-22.EN/M Детектор окису вуглецю (CO)
Опис та призначення
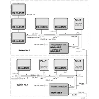
Gazex DG-22.EN/M — це сучасний стаціонарний газовий детектор, призначений для безперервного моніторингу рівня окису вуглецю (CO) в повітрі. Завдяки високочутливому електрохімічному сенсору MS-22.EG, пристрій забезпечує точне виявлення навіть незначних концентрацій CO, запобігаючи отруєнню і підвищуючи рівень безпеки на об'єкті.
Моніторинг CO — захист від "тихого вбивці"
Окис вуглецю (CO) — це безбарвний, без запаху та смаку газ, який виникає внаслідок неповного згоряння палива. Він відомий як "тихий вбивця", адже навіть у невеликих кількостях здатен викликати отруєння, втрату свідомості та смерть. Особливо небезпечний CO у приміщеннях з газовими або твердопаливними приладами, системами опалення, у гаражах і котельнях.
Сенсор MS-22.EG забезпечує високу селективність саме до CO, мінімізуючи вплив інших газів і забруднень. Це дозволяє отримувати надійні сигнали тривоги, які можна передати до систем автоматичного керування, вентиляції або оповіщення.
Переваги Gazex DG-22.EN/M:
-
Точне виявлення CO — критичне для запобігання отруєнню чадним газом
-
Електрохімічний сенсор MS-22.EG — надійність, стабільність і довготривалий ресурс
-
Система оповіщення про перевищення допустимих рівнів — звуковий і світловий сигнал
-
Можливість підключення до автоматичних систем безпеки (вентиляція, BMS, відключення газу)
-
Стійкий до впливу вологи та пилу корпус — ідеальний для побутових і промислових умов
Рекомендоване застосування:
-
Котельні, бойлерні, машинні зали
-
Гаражі та паркінги
-
Приміщення з газовими плитами або обігрівачами
-
Промислові зони з ризиком неповного згоряння палива
-
Готелі, лікарні, житлові будинки
- Вихід у стандарті RS-485
- ✓
- Візуальна сигналізація, вбудована
- ✓
- Напруга живлення
- 24 В постійного струму
- Розміри
- 82 x 95 x 68 мм
- Код EAN
- 5901769652736


