DG-20.EN/M Детектор двогазовий окису вуглецю та двоокису азоту
Опис та призначення
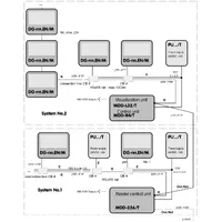
Газовий детектор Gazex DG-20.EN/M є високотехнологічним рішенням для безпечного моніторингу окису вуглецю (CO) та двоокису азоту (NO₂). Цей пристрій оснащений спеціалізованим датчиком MS-20.EG, який забезпечує точне виявлення та вимірювання двох типів небезпечних газів, що дозволяє своєчасно виявляти потенційну загрозу для здоров’я та безпеки.
Особливості:
-
Двогазова система: Детектор Gazex DG-20.EN/M ефективно виявляє як окис вуглецю (CO), так і двоокис азоту (NO₂), що робить його ідеальним вибором для промислових об’єктів, автомобільних стоянок, виробничих приміщень та інших зон з підвищеним рівнем цих газів.
-
Моніторинг окису вуглецю (CO): Окис вуглецю – без запаху та кольору газ, який може бути смертельно небезпечним навіть при низьких концентраціях. Завдяки датчику MS-20.EG, детектор здатний миттєво виявити навіть найменші зміни в концентрації цього газу в повітрі, що дозволяє оперативно вжити заходів для захисту людей від його токсичних впливів.
-
Моніторинг двоокису азоту (NO₂): Двоокис азоту є небезпечним газом, що утворюється в процесах горіння та здатний викликати серйозні проблеми зі здоров’ям, зокрема проблеми з дихальною системою. Детектор Gazex DG-20.EN/M точно відстежує рівень NO₂, дозволяючи своєчасно виявити його підвищення в повітрі.
-
Легкість у використанні: Прилад простий у налаштуванні та має інтуїтивно зрозумілий інтерфейс для зручного моніторингу. Завдяки зручним індикаторам та сигналам про перевищення допустимих концентрацій, користувачі можуть швидко реагувати на загрози.
-
Надійність: Завдяки високоякісним матеріалам і точним сенсорам, Gazex DG-20.EN/M має високу стабільність та точність вимірювань, що робить його надійним вибором для будь-якої галузі, де безпека на першому місці.
Призначення: Цей детектор ідеально підходить для застосування в промисловості, на виробництвах, у складських приміщеннях, на автомобільних стоянках, а також в інших зонах, де можливе накопичення небезпечних газів – окису вуглецю та двоокису азоту.
чадний газ (CO)
- Вихід у стандарті RS-485
- ✓
- Візуальна сигналізація, вбудована
- ✓
- Напруга живлення
- 24 В постійного струму
- Розміри
- 82 x 95 x 68 мм
- Код EAN
- 5901769652804


