DG-15.EN/M Детектор пропану, бутану (LPG)
Опис та призначення
Gazex DG-15.EN/M — це стаціонарний газовий детектор, спеціально розроблений для виявлення витоків скрапленого нафтового газу (LPG), що містить суміш пропану та бутану. Завдяки вбудованому високочутливому датчику MS-15.EG-EN, прилад забезпечує точне, стабільне та швидке виявлення небезпечної концентрації LPG у повітрі.
Моніторинг LPG — безпечна експлуатація газового обладнання
Скраплений нафтовий газ (LPG) є одним з найпоширеніших джерел енергії для опалення, приготування їжі, транспорту та промислових процесів. Проте він є високовибухонебезпечним і має властивість накопичуватись у нижніх частинах приміщень, оскільки важчий за повітря. Непомічений витік LPG може призвести до вибуху або отруєння, тому моніторинг його наявності є критично важливим.
Сенсор MS-15.EG-EN забезпечує високу селективність саме до LPG, що дозволяє ефективно відрізняти його від інших летких речовин і уникати хибних тривог. Це дає змогу своєчасно попередити персонал і автоматизовані системи про потенційну загрозу.
Основні переваги:
-
Точне виявлення скрапленого газу (LPG) — пропану, бутану та їх сумішей
-
Сенсор з високою чутливістю MS-15.EG-EN — для стабільного та надійного моніторингу
-
Система сигналізації — гучна звукова та яскрава світлова індикація небезпеки
-
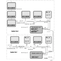
Можливість інтеграції з системами вентиляції, відключенням подачі газу, BMS
-
Призначений для тривалої експлуатації в складних умовах
Рекомендоване застосування:
-
Побутові приміщення з балонним або резервуарним газопостачанням
-
Котельні та газові топкові
-
Автогазозаправні станції (AGZS)
-
Виробничі підприємства з використанням LPG
-
Підземні паркінги, гаражі, складські зони
- Вихід у стандарті RS-485
- ✓
- Візуальна сигналізація, вбудована
- ✓
- Напруга живлення
- 24 В постійного струму
- Розміри
- 82 x 95 x 68 мм
- Код EAN
- 5901769652729


