DG-14.EN/M Детектор метану (CH4), підвищена селективність
Опис та призначення
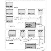
Gazex DG-14.EN/M — це стаціонарний газовий детектор, призначений для постійного моніторингу концентрації метану (CH₄) в повітрі. Оснащений чутливим датчиком MS-14.EG-EN, прилад забезпечує високу точність, швидке реагування та селективне виявлення саме метану — головного компонента природного газу.
Моніторинг метану — критично важливий для запобігання вибухонебезпечним ситуаціям
Метан — легкий, безбарвний і вибухонебезпечний газ, що не має запаху в природному стані. Він широко використовується в побуті, промисловості та енергетиці, але витік цього газу може призвести до серйозної небезпеки для життя, здоров’я та майна. Саме тому критично важливо мати надійний пристрій, який оперативно попереджає про перевищення допустимого рівня CH₄ у повітрі.
Сенсор MS-14.EG-EN забезпечує високу селективність до метану, мінімізуючи вплив інших газів або парів, що дозволяє уникнути хибних спрацювань і зосередитись саме на безпеці газопостачання.
Основні переваги:
-
Точне виявлення метану (CH₄) — ключового компонента природного газу
-
Висока селективність сенсора MS-14.EG-EN — зменшення хибних сигналів
-
Система сигналізації — звукове та світлове попередження про небезпеку
-
Інтерфейси для підключення до зовнішніх систем керування (вентиляція, BMS тощо)
-
Простий монтаж та надійна робота в різних умовах експлуатації
Рекомендоване застосування:
-
Побутові та комерційні системи газопостачання
-
Котельні та топкові приміщення
-
Газорозподільчі станції та підстанції
-
Паркінги з можливим витоком газу
-
Промислові об'єкти, де використовують природний газ
- Вихід у стандарті RS-485
- ✓
- Візуальна сигналізація, вбудована
- ✓
- Напруга живлення
- 24 В постійного струму
- Розміри
- 82 x 95 x 68 мм
- Код EAN
- 5901769652712


